产品中心
当前位置:首页 > 产品中心 > 产品详情

WGT型接中间套鼓形齿式联轴器

发布于:2014-01-23   隶属于:联轴器
WGT鼓形齿式联轴器   特点及应用场合:具有少量轴线偏移补偿性能,不能缓冲、减振。外形尺寸小,理论上传递转矩大,需要润滑、密封,但噪声较大、价格贵,用于联接水平两同轴线轴系传动。用于低速、重载工况条件下联接水平两同轴线,如冶金机械、重型机械等。不适用于高速、高精度的轴系传动,起动频繁、正反转多变的工况不宜采用。
    WG型--基本型;
    WGP型--带制动盘型,适用于与点盘式制动器配套;
    WGZ型--带制动轮型,适用于与瓦块式制动器配套;
    WGT型--接中间套型,适用于两轴长距离联接,许用转速[n]取决于中间套的长度和质量,并应验算临界转速;
    WGC型--垂直安装型,用于联接垂直的两轴线轴系传动;
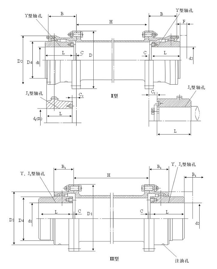
    I型--密封端盖为分离型,齿间距较大,可以允许较大的径向位移,可与Y、J1、Z1型轴伸联接;
    II型--密封端盖为整体型,齿间距小,相对允许径向位移小,结构紧凑,转动惯量小,可与Y、J1型轴伸联接;

WGT中袖圆筒形齿轮耦合基本参数及主要尺寸:(JB/T 7004-93)mm

 

 

上一个产品:CL型齿式联轴器

下一个产品:WGZ型带制动轮

同类产品

苏公网安备 32110102321207号