海诚集团下属企业
--镇江海诚机械制造有限公司
--镇江金鼎重工有限公司
--镇江兴达联轴器有限公司
--南京索特烘箱制造有限公司
--南京恒群干燥设备有限公司
--镇江双怡重工机械科技有限公司
--丹阳市开发区福克联轴器厂
|
中文
|
English
网站首页
关于我们
集团概况
企业文化
下属企业
公司架构
新闻中心
企业新闻
行业新闻
产品中心
联轴器
生产设备
检测设备
生产现场
服务&支持
产品应用
选型指南
人力资源
用人理念
人才招聘
职工之家
联系我们
机构调研
产品中心
联轴器
齿式联轴器
弹性联轴器
膜片联轴器
梅花联轴器
蛇簧联轴器
滑块联轴器
链条联轴器
轮胎联轴器
卷筒联轴器
万向轴
小规格万向联轴器
安全联轴器
生产设备
检测设备
生产现场
当前位置:首页 > 产品中心 > 产品详情
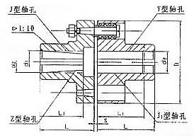
LT型弹性套柱销联轴器
发布于:2014-01-23 隶属于:联轴器
TL(LT)型弹性套柱销联轴器
特点及应用场合:
具有一定补偿两轴线相对偏移和减振、缓冲性能,结构简单,制造容易,不需润滑,维修方便,径向尺寸较大,适用于安装底座刚性好,对中精度较高,冲击载荷不大,对减振要求不高的轴系传动,适用范围广泛,是我国最早通用标准联轴器。不适用于高速和低速重载工况条件。
TL(LT)型--基本型;
TLL(LTZ)型--带制动轮型;
TL(LT)型
弹性套柱销联轴器参数及主要尺寸:(GB/T4323-84<2002>) mm
型号
公称扭矩
N.m
许用转速rpm
轴孔直径
d
1
、d
2
、d
z
轴孔长度
D
A
S
许用补偿量
重量
kg
转动惯量
kg.m
2
Y型
J J
1
Z型
径向
角向
铁
钢
铁
钢
L
L
1
L
TL1(LT1)
6.3
6600
8800
9
9
20
14
71
18
3
0.2
1°30'
1.16
0.0004
10、11
10、11
25
17
12
12、14
32
20
TL2(LT2)
16
5500
7600
12、14
12、14
32
20
80
18
3
0.2
1°30'
1.64
0.0001
16
16、18、19
42
30
42
TL3(LT3)
31.5
4700
6300
16、18、19
16、18、19
42
30
42
95
35
4
0.2
1°30'
1.9
0.0002
20
20、22
52
38
52
TL4(LT4)
63
4200
5700
20、22、24
20、22、24
52
38
52
106
35
4
0.2
1°30'
2.3
0.004
25、28
62
44
62
TL5(LT5)
125
3600
4600
25、28
25、28
62
44
62
130
45
5
0.3
1°30'
8.36
0.011
30、32
30、35
82
60
82
TL6(LT6)
250
3300
3800
32、35、38
32、35、38
82
60
82
160
45
5
0.3
1°00'
10.36
0.026
40
40、42
112
84
112
TL7(LT7)
500
2800
3600
40、42、45
40、42、48、48
112
84
112
190
45
5
0.3
1°00'
15.6
0.06
TL8(LT8)
710
2400
3000
45、48、50、55
45、48、50、55、56
112
84
112
224
65
6
0.4
1°00'
25.0
0.13
60、63
142
107
142
TL9(LT9)
1000
2100
2850
50、55、56
50、55、56
112
84
112
250
65
6
0.4
1°00'
30.9
0.20
60、63
60、63、65、70、71
142
107
142
TL10(LT10)
2000
1700
2300
63、65、70、71、75
63、65、70、71、75
142
107
142
315
80
8
0.4
1°00'
65.0
0.65
80、85
80、85、90、95
172
132
172
TL11(LT11)
4000
1350
1800
80、85、90、95
80、85、90、95
172
132
172
400
100
10
0.5
0°30'
122.6
2.06
100、110
100、110
212
167
212
TL12(LT12)
8000
1100
1450
100、110、120、125
100、110、120、125
212
167
212
475
130
12
0.5
0°30'
219
5.0
130
252
202
252
TL13(LT13)
16000
800
1150
120、125
120、125
212
167
212
600
180
14
0.6
0°30'
426
16.0
130、140、150
130、140、150
252
252
252
160
160、170
302
242
302
上一个产品:
CL型齿式联轴器
下一个产品:
LZ型弹性柱销齿
同类产品
万向联轴器如何正确选
CH型长伸缩焊接式联
WH型无伸缩焊接式联
BH型标准伸缩焊接式
苏公网安备 32110102321207号
展开
收缩
销售热线
13276159933
在线业务咨询
0511-85788529
技术支持客服
0511-85019680
旺旺在线咨询