WGT接中间套鼓形齿联轴器
发布于:2016-11-28
隶属于:齿式联轴器
WGT鼓形齿联轴器 特点及应用场合:具有少量轴线偏移补偿性能,不能缓冲、减振。外形尺寸小,理论上传递转矩大,需要润滑、密封,但噪声较大、价格贵,用于联接水平两同轴线轴系传动。用于低速、重载工况条件下联接水平两同轴线,如冶金机械、重型机械等。不适用于高速、高精度的轴系传动,起动频繁、正反转多变的工况不宜采用。
WG型--基本型;
WGP型--带制动盘型,适用于与点盘式制动器配套;
WGZ型--带制动轮型,适用于与瓦块式制动器配套;
WGT型--接中间套型,适用于两轴长距离联接,许用转速[n]取决于中间套的长度和质量,并应验算临界转速;
WGC型--垂直安装型,用于联接垂直的两轴线轴系传动;
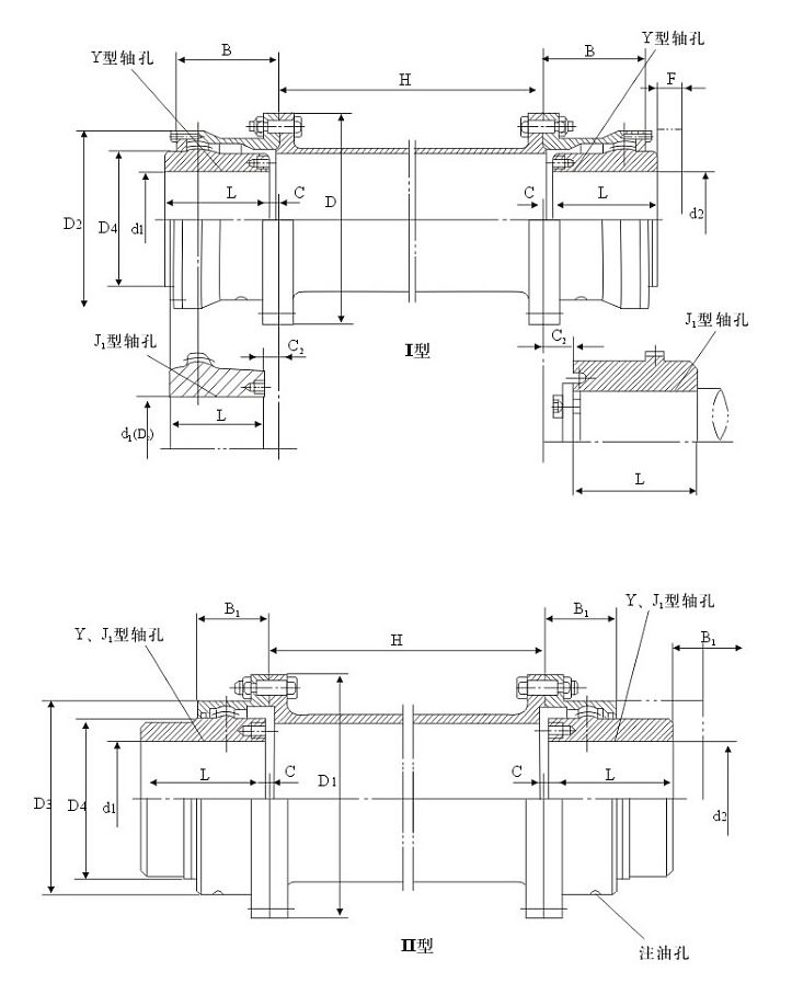
I型--密封端盖为分离型,齿间距较大,可以允许较大的径向位移,可与Y、J1、Z1型轴伸联接;
II型--密封端盖为整体型,齿间距小,相对允许径向位移小,结构紧凑,转动惯量小,可与Y、J1型轴伸联接;
GICL型--基本型(宽型);
GIICL型--基本型(窄型);
GICLZ型--中间轴型(宽型);
GIICLZ型--中间轴型(窄型);
GICL、GIICL型,用于两轴端直接联接;
GICLZ、GILZ型,用于两轴长距离联接;
GCLD型--电机轴伸型,用于电机轴伸联接;

WGT型接中间套鼓形齿式联轴器基本参数和主要尺寸:(JB/T 7004-93) mm

